產品詳情
一、單軌吊車簡介
單軌吊車是通過多組平行縱向鋼軌的協同作業,實現工件在前處理槽體(脫脂、水洗、酸洗、水洗、助鍍等)與鋅鍋之間的垂直升降、精準轉運,各吊車可以單獨操作,也可多臺吊車同步操作,滿足批量或定制化的熱鍍鋅工藝需求。
在其它設備不變的情況下,使用單軌吊車能比使用橫移式吊車提高產能一倍以上。通常情況下,橫移式吊車一般只有一部吊車做鍍鋅動作,其他吊車只是做輔助配套用。即使有兩部以上吊車用于鍍鋅,也是只有一部在工作,其余吊車都在等待,否則必有沖突發生。而單軌式吊車卻可以做到鋅鍋里永遠有東西。特別是對比較小的工件,單軌吊車可以提高產能2-3倍。
二、單軌吊車工作原理
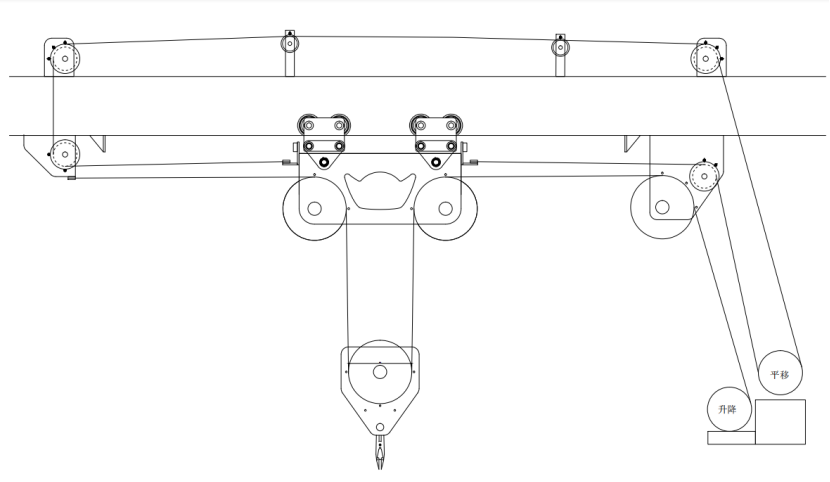
1.平移機構工作原理
電動機通過花鍵軸與行星齒輪減速機聯接,減速機外殼帶動滾筒旋轉,兩根牽引鋼絲繩用繩卡固定在滾筒兩側端蓋上隨著滾筒的轉動則兩根鋼絲繩放出或卷入,完成載重小車沿起重臂水平運動。當電機斷電時,可自動剎車,機構停止運轉。
變幅機構滾筒一端連有幅度限位器限制牽引載重小車運行距離。
2.剎車機構工作原理?
該系列電力液壓鼓式制動器由相匹配的制動架和電力液壓推動器兩大部分組成,當通電時,電力液壓推動器動作,其推桿迅速升起,并通過杠桿作用把制動瓦打開;當斷電時,電力液壓推動器的推桿在彈簧力的作用下迅速下降,并通過杠桿作用把制動瓦合攏.?實現制動。
3.卷揚升降機構工作原理
電源輸入,液壓推桿制動器打開,電動機開始旋轉,經梅花彈性連軸器將動力傳遞減速機,再由減速機帶動卷筒繞繩工作。電動機斷電,制動器制動,多功能行程限制器控制起升鋼絲繩放出和繞入長度以控制器升高度。

三、單軌吊車優勢
1. 鍍鋅專用單軌吊車優勢(適用于一字型布局):
- 軌道上無電機電線,設備維修率低
- 單軌吊車可以單獨或同步操作完成鍍鋅工作,生產力高
- 控制系統采用西門子PLC和變頻器運行穩定
- 使用多段速度控制,通過形成一個合理的角度減少鋅耗
- 并且通過控制工件角度和提升速度可以提高工件的表面質量
編號 | 項目 | 參數 |
1 | 類型 | 卷揚機式 |
2 | 載重 | 2T/3T/5T/10T |
3 | 起升速度 | 0.1-30M/Min |
4 | 平移速度 | 30-40M/Min |
2.酸洗專用單軌吊車優勢:
- 封閉酸洗是目前最先進的和最環保的酸洗方法。
- 因為有酸霧在封閉車間,吊車系統面臨的挑戰更加嚴重。
- 控制系統使用手持遙控裝置來實現最佳的酸洗過程。
- 沒有電線或電動機在封閉車間,減少腐蝕程度和維護費用。
編號 | 項目 | 參數 |
1 | 類型 | 卷揚機式 |
2 | 載重 | 2T/3T/5T/10T |
3 | 起升速度 | 10M/Min |
4 | 平移速度 | 20M/Min |
